- 易迪拓培训,专注于微波、射频、天线设计工程师的培养
***
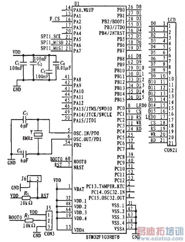
2.2 液晶显示部分电路设计
液晶显示部分主要由微控制器STM32F103RBT6驱动AM240320LSTNQW-00H完成人机界面状态的显示,通过发送命令字,完成液晶模块的初始化,完成对内容的显示,显示部分的硬件电路接口图如图2所示。

图2 系统液晶接口原理图
2.3 SD卡读写部分的硬件设计
处理器主机可以选择SD卡模式和SPI模式中任意一种模式同SD卡通信,SD卡模式允许4线的高速数据传输。SPI模式允许简单的通过SPI接口来和SD卡通信,这种模式同SD卡模式相比就是丧失了速度。通过读取SD卡中的文件,识别出各个目录下的图片数据,然后对数据进行解码。驱动液晶完成图片的显示,SD卡接口部分电路如图3所示。

图3 SD卡接口原理图
3 BMP图片的解码算法
3.1 BMP文件组成
BMP文件由文件头、位图信息头、颜色信息和图形数据4部分组成。BMP文件头数据结构舍有BMP文件的类型、文件大小和位图起始位置等信息,它占14个字节。BMP位图信息头数据用予说明位图的尺寸等信息,它占40个字节。BMP颜色表用于说明位图中的颜色,它有若干个表项,每一个表项定义一种颜色。位图信息头和颜色表组成位图信息,位图数据记录了位图的每一个像素值,记录顺序是在扫描行内是从左到右,扫描行之间是从下到上,Windows规定一个扫描行所占的字节数必须是4的倍数(即以long为单位),不足的以0填充。
3.2 BMP图片的读取显示算法
首先根据读取到的BMP图片数据得到BMP的头部信息,得到文件类型,大小和文件的起始位置,然后读取BMP位图信息头,这里面记录了图片的格式的信息,如BMP图片的宽度和高度,以及每个像素所占的位数,下面举例来说明BMP图片的解码过程。
常用的BMP图片格式有24位真彩图,16位图,和32位图,解码过程略有不同,下面分别介绍,首先是24位图,当根据BMP的头文件信息得到数据的起始地址之后,从起始地址开始读数据,假设每次读入512字节,由于AM240320TFT采用16位的565方式显示,即就是说需要把每个像素所占的24位致据,也就是3个字节,转换为16位的数据,即2个字节,这里以前3个字节为例来说明解码算法:

其中codor为需要提供给液晶显示器每个像素点的颜色值,tmp_color为解码过程中的临时变量,数组temp存储24位格式的像素值。同样也可以解码16位颜色图和32位颜色图,解码16位颜色图的算法比较简单,只需要解出连续的两个值然后组合成16位的565格式的颜色值送到液晶显示,其解码算法如下:

在32位图的解码过程中需要注意一个问题,就是32位图中实际上只使用了24位存储像素值,也就是32位中的前3位,最后一位没有存储像素值信息,所以在解码的过程中只需要解码前3位,将第4位跳过,具体解码算法如下:

3.3 STM32解码并显示BMP图片程序
在BMP图片解码过程中,有两种方式:一种是将BMP图片数据从外部SD卡中调入内存中,从内存中解码,解码后将图片数据显示在TFT屏上;第二种方式是一边从SD卡中读数据一边解码显示,两种方式各有优缺点。第一种方式的优点是由于整个解码过程全部在内存中进行,所以解码的速度比较快,显示图片的速度快。由于一般处理器内部RAM都是有限的,而这种方式对RAM的消耗特别大,所以采用这种方式需要外扩SRAM.第二种方式是从SD卡总边读取边解码,例如一般FAT32文件簇的大小都是512字节,所以可以以簇为单位来读取图片信息,然后显示接着读取下一簇,这种方式的缺点是,由于SD卡的SPI方式速度较慢,解码一张320x240的图片大概需要1s,但是这种方式对系统的内存消耗比较低,比较适合于没有外部RAM的系统。本系统中,采用第二种方式进行解码显示,STM32采用外部8 MHz的晶振作为输入时钟,内部锁相环将时钟倍频到72 MHz作为系统时钟,采用GPIO口模拟8080时序并行驱动2.8寸TFT屏,屏幕分辨率为320x240,处理器首先完成各种外设初始化,接着初始化FAT文件系统,然后从SD卡中读取一簇的数据,解码显示,接着读取下一簇。整个程序的流程图如图4所示。

图4 BMP解码流程图
4 结论
本文采用了基于ARM的Cortex-M3内核的STM32,它基于最新ARMv7架构,设计了一个BMP图片解码系统,完成了在2.8寸TFT屏上解码并显示BMP图片,通过读取SD卡中的图片数据,边读取边解码显示,实现了在内存有限的处理器中的BMP图片的解码算法。
作者:邸兴 张建花 陈贝 来源:《电子设计工程》


