- 易迪拓培训,专注于微波、射频、天线设计工程师的培养
基于DSP芯片TMS320C5402的数字压缩语音录放系统
系统简介
本系统的主要功能是通过对语音信号进行压缩,以实现高效率数字录音,可用于电话留言,语声应答等场合。采用磁带录音实现电话留言,虽然录音的时间较长,但不便于查找和保存。数字录音可以克服磁带录音的缺点,不仅查找速度快,而且对录音信息进行编辑整理也非常方便,更为方便的是数字录音信息可以转存在计算机硬盘或光盘上以便长期保存。但是数字录音的缺点是要实现长时间录音需要很大的存储空间,因此本系统一方面采用存储量为16MB的单片闪速存储器KM29N160,另一方面采用2.0Kb/s的速率对语音进行压缩,采用这两种方法后,可以实现2小时以上的数字录音。
系统硬件设计
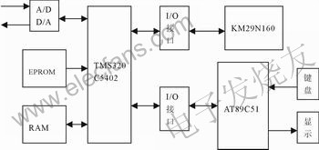
整个硬件设计包括三个部分,一是TMS320C5402 DSP处理系统,包括TMS320C5402、程序存储器、数据存储器、模数转换电路等;二是闪速存储器及其与TMS320 C5402的接口部分;三是AT89C51主处理器部分,包括AT89C51处理器、键盘显示电路及AT89C51与TMS320C5402接口。图1是整个硬件系统的示意框图。

图1 数字压缩语音录放系统硬件示意图
DSP处理系统
TMS320C5402 DSP处理系统主要完成语音的压缩和解压缩功能。系统主要由TMS320C5402、EPROM 27C256-15(1片)、高速RAM CY7C199-10(2片)、译码电路、晶体振荡器、模数转换电路等构成。其中,EPROM存储引导信息和程序代码,其地址为数据空间的8000H"FFFFH,DSP芯片加电运行时将EPROM中的程序代码搬移到高速RAM中。高速RAM的存取时间为10ns,可以全速执行,地址为0000H"7FFFH,共32K字,程序和数据均可访问。ADC采用Motorola公司的PCM编解码器MC14LC5480,这个芯片集语音A/D、D/A及抗混叠滤波于一体,采用单5V供电方式,TMS320C5402提供了可与PCM编码器等串行器件接口的串行口,因而只需将相应的引脚一一连接即可。其接口电路如图2所示。

图2 dsp与ADC的接口电路
来源:电子发烧友


