- 易迪拓培训,专注于微波、射频、天线设计工程师的培养
工程师必须要了解的中间继电器原理与选型要求
录入:edatop.com 点击:
继电器(Relay)通俗来说就是用小电流控制大电流。由控制回路和负载回路组成在自动控制电路中,相当于自动开关。用于控制电路,保护电路,转换电路。
继电器的首要作用是信号检测、传递、转换或处置用的,它通断的电路电流一般较小,一般用在控制电路里,控制弱信号。 接触器首要作用是用来接通或断开主电路的。主电路是指一个电路工作与否是由该电路是不是接通为标志。主电路概念与控制电路相对应。一般主电路通过的电流比控制电路大。
中间继电器(intermediate relay):用于继电保护与自动控制系统中,以增加触点的数量及容量。 它用于在控制电路中传递中间信号。中间继电器的结构和原理与交流接触器基本相同,与接触器的主要区别在于:接触器的主触头可以通过大电流,而中间继电器的触头只能通过小电流。所以,它只能用于控制电路中。 它一般是没有主触点的,因为过载能力比较小。所以它用的全部都是辅助触头,数量比较多。新国标对中间继电器的定义是K,老国标是KA。一般是直流电源供电。少数使用交流供电。

继电器主要分为一般继电器和固态继电器。一般继电器把控制信号转换成机械式动作的电磁铁和开关电气的开关构成。而中间继电器是一种最基本的继电器。
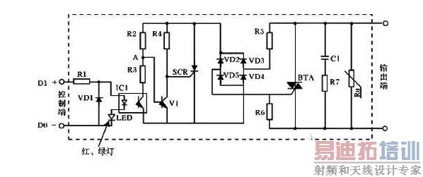
固态继电器是一种无触点继电器。由微电子电路,分立电子器件,电力电子功率器件组成。可以分为输入电路,电气隔离部分,输出电路组成。如下图所示就是一种典型固态继电器电路原理图:

典型固态继电器电路原理图
中间继电器选型需要考量的要素
1 地理位置气候作用要素
主要指海拔高度、环境温度、湿度、和电磁干扰等要素。考虑控制系统的普遍适用性,兼顾必须长年累月可靠运行的特殊性,装置关键部位必须选用具有高绝缘、强抗电性能的全密封型(金属罩密封或塑封型,金属罩密封产品优于塑封产品)中间继电器产品。因为只有全密封继电器才具有优良的长期耐受恶劣环境性能、良好的电接触稳定、可靠性和切换负载能力(不受外部气候环境影响)。
2 机械作用要素主要指振动、冲击、碰撞等应力作用要素。对控制系统主要考虑到抗地震应力作用、抗机械应力作用能力,宜选用采用平衡衔铁机构的小型中间继电器。
3激励线圈输入参量要素主要是指过激励、欠激励、低压激励与高压(220 V)输出隔离、温度变化影响、远距离有线激励、电磁干扰激励等参量要素,这些都是确保电力系统自动化装置可靠运行必须认真考虑的因素。按小型中间继电器所规定的激励量激励是确保它可靠、稳定工作的必要条件。
4,控制电压,必须清楚实际使用的控制电压,也有的称为线圈电压。一般继电器的给出的都是额定控制电压,但是一般情况是在额定电压的70-80%左右可以确保继电器动作。而继电器复位也不是说没有电压才复位。其实一般情况是低于15%就可以确保复位。所以如果控制回路有漏电压。需要考虑这个影响。而它们之间的动作状态是不够明确的。
5,触点结构,中间继电器常见触点结构是单刀双掷结构。即1常开1常闭组成一组。通常会把这样的结构称为极。比如2极,4极,就表示2组常开常闭,4组常开常闭。在选型中必须要明确需要用到的常开常闭点个数。
6,电压和电流,也称为触点容量或者负载容量,其实包括了电压和电流。但是其实在选择的时候是必须要分开确定的。要给出明确的负载电压,和负载电流才能更好的确认可以选择的继电器。另外一个需要特别注意的是负载类型。这里只需要记住在感性负载下。其接点电压和电流比阻性负载下要更小。这个区别是会在中间继电器资料里面写明的。
7,安装方式,为什么还要安装方式的不同呢 这是因为中间继电器一般是不直接配底座的。而选型的时候选好继电器就需要确认底座型号。工控环境下使用的其实是导轨安装方式。这种底座也用的最多的。还要比如pcb板焊接底座。背面连接底座。其实这个选择其实不是选继电器而是选择底座。
8,触点输出(换接电路)参量要素主要是指触点负载性质,如灯负载,容性负载,电机负载,电感器、接触器(继电器)线圈负载,阻性负载等;触点负载量值(开路电压量值、闭路电流量值),如低电平负载、干电路负载、小电流负载、大电流负载等。
任何自动化设备都必须切实认定实际所需要的负载性质、负载量值的大小,选用合适的继电器产品尤为重要。继电器的失效或可靠不可靠,主要指触点能否完成所规定的切换电路功能。如切换的实际负载与所选用继电器规定的切换负载不一致,可靠性将无从谈起。
继电器的首要作用是信号检测、传递、转换或处置用的,它通断的电路电流一般较小,一般用在控制电路里,控制弱信号。 接触器首要作用是用来接通或断开主电路的。主电路是指一个电路工作与否是由该电路是不是接通为标志。主电路概念与控制电路相对应。一般主电路通过的电流比控制电路大。
中间继电器(intermediate relay):用于继电保护与自动控制系统中,以增加触点的数量及容量。 它用于在控制电路中传递中间信号。中间继电器的结构和原理与交流接触器基本相同,与接触器的主要区别在于:接触器的主触头可以通过大电流,而中间继电器的触头只能通过小电流。所以,它只能用于控制电路中。 它一般是没有主触点的,因为过载能力比较小。所以它用的全部都是辅助触头,数量比较多。新国标对中间继电器的定义是K,老国标是KA。一般是直流电源供电。少数使用交流供电。

继电器主要分为一般继电器和固态继电器。一般继电器把控制信号转换成机械式动作的电磁铁和开关电气的开关构成。而中间继电器是一种最基本的继电器。
固态继电器是一种无触点继电器。由微电子电路,分立电子器件,电力电子功率器件组成。可以分为输入电路,电气隔离部分,输出电路组成。如下图所示就是一种典型固态继电器电路原理图:

典型固态继电器电路原理图
中间继电器选型需要考量的要素
1 地理位置气候作用要素
主要指海拔高度、环境温度、湿度、和电磁干扰等要素。考虑控制系统的普遍适用性,兼顾必须长年累月可靠运行的特殊性,装置关键部位必须选用具有高绝缘、强抗电性能的全密封型(金属罩密封或塑封型,金属罩密封产品优于塑封产品)中间继电器产品。因为只有全密封继电器才具有优良的长期耐受恶劣环境性能、良好的电接触稳定、可靠性和切换负载能力(不受外部气候环境影响)。
2 机械作用要素主要指振动、冲击、碰撞等应力作用要素。对控制系统主要考虑到抗地震应力作用、抗机械应力作用能力,宜选用采用平衡衔铁机构的小型中间继电器。
3激励线圈输入参量要素主要是指过激励、欠激励、低压激励与高压(220 V)输出隔离、温度变化影响、远距离有线激励、电磁干扰激励等参量要素,这些都是确保电力系统自动化装置可靠运行必须认真考虑的因素。按小型中间继电器所规定的激励量激励是确保它可靠、稳定工作的必要条件。
4,控制电压,必须清楚实际使用的控制电压,也有的称为线圈电压。一般继电器的给出的都是额定控制电压,但是一般情况是在额定电压的70-80%左右可以确保继电器动作。而继电器复位也不是说没有电压才复位。其实一般情况是低于15%就可以确保复位。所以如果控制回路有漏电压。需要考虑这个影响。而它们之间的动作状态是不够明确的。
5,触点结构,中间继电器常见触点结构是单刀双掷结构。即1常开1常闭组成一组。通常会把这样的结构称为极。比如2极,4极,就表示2组常开常闭,4组常开常闭。在选型中必须要明确需要用到的常开常闭点个数。
6,电压和电流,也称为触点容量或者负载容量,其实包括了电压和电流。但是其实在选择的时候是必须要分开确定的。要给出明确的负载电压,和负载电流才能更好的确认可以选择的继电器。另外一个需要特别注意的是负载类型。这里只需要记住在感性负载下。其接点电压和电流比阻性负载下要更小。这个区别是会在中间继电器资料里面写明的。
7,安装方式,为什么还要安装方式的不同呢 这是因为中间继电器一般是不直接配底座的。而选型的时候选好继电器就需要确认底座型号。工控环境下使用的其实是导轨安装方式。这种底座也用的最多的。还要比如pcb板焊接底座。背面连接底座。其实这个选择其实不是选继电器而是选择底座。
8,触点输出(换接电路)参量要素主要是指触点负载性质,如灯负载,容性负载,电机负载,电感器、接触器(继电器)线圈负载,阻性负载等;触点负载量值(开路电压量值、闭路电流量值),如低电平负载、干电路负载、小电流负载、大电流负载等。
任何自动化设备都必须切实认定实际所需要的负载性质、负载量值的大小,选用合适的继电器产品尤为重要。继电器的失效或可靠不可靠,主要指触点能否完成所规定的切换电路功能。如切换的实际负载与所选用继电器规定的切换负载不一致,可靠性将无从谈起。
射频工程师养成培训教程套装,助您快速成为一名优秀射频工程师...
天线设计工程师培训课程套装,资深专家授课,让天线设计不再难...
上一篇:干货:一文读懂电感
下一篇:超级电容器的分类与优缺点分析
射频和天线工程师培训课程详情>>

