- 易迪拓培训,专注于微波、射频、天线设计工程师的培养
一种新型ZCS-PWM Buck变换器研究
与功率场效应管(MOSFET)相比,绝缘栅双极晶体管(IGBT)具有更高的耐压值、更大的能量密度和较低的开通损耗,因此己广泛用于高压、大功率场合。然而,IGBT的开关速度较慢,而且关断时还存在电流拖尾现象,因而会导致较大的关断损耗。解决这两个问题的有效措施是实现IGBT的零电流开关(ZCS)。为此,近几年已陆续提出了多种ZCS脉宽调制(Pulse Width Modulated,简称PWM)技术方案[1-3]。例如,文献[2,3]虽能实现所有有源开关器件的ZCS,但主开关管的电流应力很大,它将显著增加导通损耗。这一问题在文献[4]中得到解决,但辅助开关管的电流应力也很大。而且由于两个谐振电感分别与主开关管、辅助开关管串联,所以损耗较大,且结构复杂。为了有效解决这一问题,文献[5]提出并研究了基于一种新型ZCS PWM开关单元的Boost变换器。在此基础上研究了基于该新型ZCS PWM开关单元的Buck变换器。它在传统Buck电路的基础上增加了一条谐振支路和一条由辅助开关管与二极管串联而成的辅助支路。在整个负载范围内。该新型ZCS PWM Buck变换器的主开关管和辅助开关管均工作在ZCS状态,所有无源开关器件均工作在ZVS状态,因此开关损耗为零。此外,该变换器的谐振电感不再与主开关管和辅助开关管串联,使得损耗明显减小,因此适用于所有使用IGBT的大功率场合。在此。分析了该变换器的工作原理,并通过一台300W,30kHz样机验证了该电路的可行性。
2 工作原理
2.1 主电路拓扑
图1示出新型ZCS PWM Buck变换器。它由主开关管VS1、辅助开关管VS2、3个二极管VD1~VD3、两个谐振电感Lr1,Lr2及一个谐振电容Cr组成。VS1起到将能量传输到负载的作用;通过VS2传输的能量占总负载能量的比例很小,流过它的电流平均值也很小。
![]() |
|---|
2.2 工作模态的分析
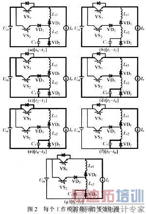
为便于分析新型ZCS PWM Buck变换器的工作原理,首先假设:①变换器工作已达到稳态;②所有功率电子器件均为理想器件;③电感、电容均为理想储能元件;④输入电压Uin恒定;⑤输出滤波电感Lo足够大,使得流过L。的电流iLo可视为恒流Io。这样,Lo,Co及负载电阻RL也可看成是一个电流值为Io的恒流源;⑥谐振电感远小于Lo,即Lr1<<Lo和Lr2<<Lo。基于此。该变换器在一个周期中的工作,可分为7个模态。图2示出每个工作模态所对应的等效电路。
![]() |
|---|
(1)模态1[t0~t1]该模态的等效电路见图2a。在t0时刻前,VS1和VS2都处于关断状态,Lo上的电流Io通过VD2,Lr2,VD1和Lr1续流。此时,流过谐振电感的电流为恒流,所以其端电压均为零,Cr上的端电压uCr也为零。VS1和VS2承受的电压均为Uin。
在t0时刻,VS1开通,加在Lr1,Lr2上的电压为Uin,其电流从Io开始线性下降,而流过VS1的电流iVS1,开始从零线性上升,所以VS1为零电流开通。
|
|---|
(2)模态2[t1~t2]该模态的等效电路见图2b。在该阶段,VS1继续维持导通,此时:
模态2的持续时间为△t2=t2-t1=DTs-Δt1(D为占空比,Ts为开关周期)。
(3)模态3[t2-t3] 该模态的等效电路见图2c。在t2时刻,VS2开通,此时uVD1(t)=0,Lr1和Cr将通过Uin和VS2发生串联谐振,流经VS2的电流iVS2将由零逐渐上升,所以VS2为零电流开通。
|
|---|
(4)模态4[t3~t4]该模态的等效电路见图2d。由于VS2已经关断,故Lr1,Lr2和Cr将通过VD1,VD2,VS1和Uin发生串联谐振。
|
|---|
(5)模态5[t4-t5] 该模态的等效电路见图2e。Lr1,Lr2和Cr将通过VS1的反并二极管继续谐振。
|
|---|
(6)模态6[t5-t6]该模态的等效电路见图2f。此时,Lr1,Lr2和Cr只与电流源串联,导致Cr线性放电,谐振结束。
| iLr1(t)=iLr2(t)=Io (11) |
|---|
|
|---|
(7)模态7[t6~t7]该模态的等效电路见图2g。在该模态中,Io经过VD1,VD2续流。在t7时刻,零电流开通VS1,开始下一个周期。
![]() |
|---|
由上述分析可得变换器在一个周期的工作波形,图3示出新型ZCS PWM Buck变换器在一个周期内的主要波形。由图3可见,要确保其在不过载的情况下也能实现ZCS软开关,唯一的条件是![]()
![]() |
|---|
3 仿真及实验结果
通过Saber仿真软件对新型ZCS PWM Buck变换器进行了仿真分析。参数设置:输入电压Uin=100V。额定输出电压Uo=60V,额定输出功率Po=300W,开关频率fs=30kHz,Lr1=Lr2=6μH,Cr=100nF,Lo=1mH,滤波电容Co=470μH,为了验证仿真结果,设计了一台实验样机,该样机的VS1和VS2选用G25N120;VD1—VD3选用HFA25TB60。
图4示出满载时和10%负载时VS1和VS2上的电流iVS1和ivsz及电压uvs1和uVS2实验波形。由图可见,VS1和VS2都实现了软开关。由于该样机是以额定电流的10%作为临界连续电流而设计的。当负载小于额定负载的10%时,系统就进入了电流断续状态,功率器件也实现了ZCS。因此,该变换器能在整个负载范围内实现ZCS。
![]() |
|---|
4 结论
研究了一种新型ZCS PWM Buck变换器,分析了该变换器的工作原理。它具有下述优点:①结构简单,所用器件数量少;②所有的有源开关器件都是ZCS,所有的无源开关器件都是ZVS。所以没有开关损耗:③变换器能在整个负载范围内实现软开关。
该新型ZCS PWM Buck变换器适用于功率器件采用IGBT的高压、大功率应用场合。样机实验结果验证了理论分析的正确性。
作者:
| 秦岭1,2,谢少军1,周晖1 |
| (1.南京航空航天大学,江苏南京 210016;2.南通大学,江苏南通 226007)
射频工程师养成培训教程套装,助您快速成为一名优秀射频工程师... 天线设计工程师培训课程套装,资深专家授课,让天线设计不再难...
上一篇:高增益低功耗CMOS运算跨导放大器的设计 射频和天线工程师培训课程详情>>
|






