开关电容电路的稳定性仿真求助!
录入:edatop.com 阅读:
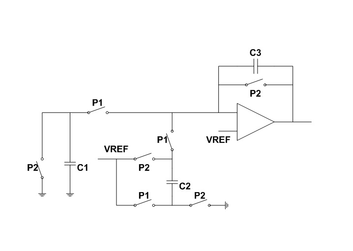
本人有个开关电容电路需要仿真AC,如下图所示

1、P1断开,P2闭合,VREF为C2充电
2、P1闭合,P2断开,C2的电荷按比例分配到C1和C3上
现在希望仿真这个电路的稳定性,没太想好该如何等效或者简化这个电路
后来在hspice尝试用tran的放着结果作为工作点,来仿真AC,但是一直也没成功,希望大家能够帮忙,感谢万分!

1、P1断开,P2闭合,VREF为C2充电
2、P1闭合,P2断开,C2的电荷按比例分配到C1和C3上
现在希望仿真这个电路的稳定性,没太想好该如何等效或者简化这个电路
后来在hspice尝试用tran的放着结果作为工作点,来仿真AC,但是一直也没成功,希望大家能够帮忙,感谢万分!
自己顶一个,在线等!
什么叫AC仿真没成功?结果不对?
有结果出来,但是仿真结果是P2闭合,P1断开时候的结果(也就是初始态的结果),而没有反应出P2断开,P1闭合时的情况!
求助!
求高手帮忙解决
申明:网友回复良莠不齐,仅供参考。如需专业解答,请学习本站推出的微波射频专业培训课程。

