- 易迪拓培训,专注于微波、射频、天线设计工程师的培养
传iPhone 5S指纹传感器将暗藏于屏幕之中
录入:edatop.com 点击:
7月19日上午消息,苹果最新专利显示,传闻将在iPhone 5S中引入的指纹识别功能或将依托屏幕为介质,而非此前传闻内置于HOME键之中。
iPhone 5S将拥有指纹识别的传闻由来已久,通过指纹可以解锁系统或是支付授权,以提高系统安全性。此前,多数媒体猜测指纹传感器将集成在HOME键区域,不过一份最新的苹果专利显示,其原理与目前常见的笔记本指纹识别有着本质的区别。
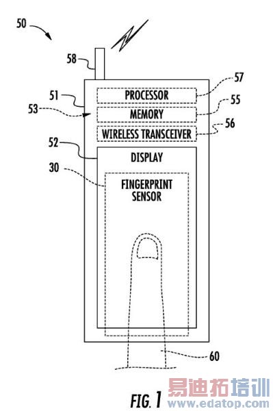
目前,多数采用识别的笔记本都是将指纹识别传感器硬件置于机身,而苹果则是通过手指轻按屏幕,通过系统像素扫描判断是否与机主指纹匹配。
指纹识别是此次iPhone 5S诸多传言之中极具"杀手"本色的功能之一,此前指纹感应器制造商Validity已经将整合了其硬件的部分产品做过类似展示,如图中的AT&T版三星Galaxy S2手机,在机身正面左下角已经嵌入了指纹传感器,在锁屏界面下通过屏幕提示轻轻扫过即可解锁屏幕。

一部整合了指纹识别功能的GALAXY S2
无独有偶,就在本周初,台湾媒体电子时报最新报告称,由于良品率问题,新的指纹识别芯片量产时间被推迟至7月底。如果iPhone 5S要按计划发布,则最迟本月初就必须开始大规模量产芯片。

苹果公司指纹识别专利文件
作者:琪欣 来源:新浪手机
