- 易迪拓培训,专注于微波、射频、天线设计工程师的培养
苹果或将重塑键盘 缩小其尺寸
录入:edatop.com 点击:

美国专利商标局日前公布了苹果获得的一项专利——Single Support Lever Keyboard Mechanism,暗示着苹果或将重塑键盘,缩小键盘的大小。苹果在专利文件中描述了多种可以缩小键盘尺寸但是又不会影响其性能的办法。
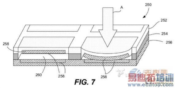
根据专利文件显示苹果的新专利Single Support Lever Keyboard Mechanism(单一支持杆键盘机械装置),允许使用任何材料来制作键盘的按键,同时还能保证每个按键的稳定性。文件指出生产键盘按键的材料十分重要,不仅是因为美观问题,还关系到用户手指的触感。专利文件中列举了一些可以选择的材料:玻璃、木材、石头甚至是抛光陨石。
专利显示可通过一个刚性支撑杆来固定键盘按键,这样的设计能够将按键的活动范围缩小至0.2毫米。键盘按键支撑杆可以利用弹性材料来制作,比如弹簧钢,这样用户敲击键盘时的触感会更好。键盘按键和支撑杆之间会有弹性衬垫,可利用橡胶或硅树脂作为材料,这样用户按下按键的时候会有更不同的感觉,减少键盘发出的噪音。
专利文件显示这个设计有许多好处。其中之一就是能够将小尺寸的键盘利用到超薄计算机设备上,提高键盘的的触感。


