- 易迪拓培训,专注于微波、射频、天线设计工程师的培养
无码开箱与硬件解析
录入:edatop.com 点击:
感谢电子发烧友,申请的DragonBoard 410c开发板套件非常幸运的如期而至,包装非常简洁,采用绿色透明塑料收纳盒,像个小巧工具箱,非常有意思,里面装有Dragonboard 410c开发板+面包板+公对公杜邦线+PCA9306 I2C总线和SMBus双向电平转换器+光传感器+颜色传感器+手势传感器+I2C集线器+红色骚红手电筒(用于光感应测试)+I2C模块连接线


Dragonboard 410c开发板是基于高通骁龙410处理器的性能强大96开发板,CPU为64核四核A53架构(单核1.2Ghz),GPU为PC级支持OpenGL ES 3.0, OpenCL, DirectX,内容保护技术的Adreno 306 400MHz GPU,内存采用1GB DDR3 533Mhz,板载8GB eMMC 4.51闪存,带TF卡扩展卡槽,无线方面更是支持WiFi 蓝牙 GPS FM广播,扩展接口方面支持虚拟扩展接口+低速扩展接口+高速扩展接口,自带2个USB 2.0接口+1个MicroUSB接口,视频输出方面支持全高清HDMI+MIPI屏幕输出
Dragon 410c开发板正面主要元器件分布如下图

Dragon 410c开发板背面印有高通骁龙英文Logo,右下角带一个启动选择开关,如下图

Dragon 410c开发板侧面图

从左到右分别为TF卡槽 HDMI接口 MicroUSB接口 USB2.0接口 USB2.0接口

从左到右分别为DC插口 模拟扩展接口 40针低速扩展接口
下面介绍Dragonboard 410c开发板套件中的传感器套件,I2C集线器正面如下图

I2C集线器背面面如下图

颜色传感器如下图


手势传感器


光感应传感器


Dragonboard 410c开发板系统区块图

Dragonboard 410c开发板核心APQ8016功能区块图和例程

USB部分原理图

MIPI屏幕输出原理图

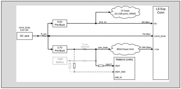
电源管理部分原理图

虚拟扩展接口定义

40针低速扩展接口定义

60针高速扩展接口定义

Dragonboard 410c开发板原材料清单
https://github.com/96boards/documentation/raw/master/ConsumerEdition/DragonBoard-410c/AdditionalDocs/DragonBoard410c_BOM.pdf
Dragonboard 410c开发板原理图下载
https://github.com/96boards/documentation/raw/master/ConsumerEdition/DragonBoard-410c/AdditionalDocs/Schematics_DragonBoard.pdf
Dragonboard 410c开发板硬件手册
https://github.com/96boards/documentation/raw/master/ConsumerEdition/DragonBoard-410c/AdditionalDocs/HardwareManual_DragonBoard.pdf
Dragonboard 410c开发板核心APQ8016设备参数手册
https://developer.qualcomm.com/qfile/28813/lm80-p0436-7_b_apq8016_devicespec.pdf
Dragonboard 410c开发板GPIO定义手册
https://developer.qualcomm.com/qfile/28814/lm80-p0436-6_gpio_pin_assignment.pdf
Dragonboard 410c开发板硬件名称缩写手册
https://developer.qualcomm.com/qfile/29141/lm80-p0436-13_c_qc_snapdragon_410_processor_hrd.pdf
Dragonboard 410c开发板安卓系统使用手册
https://github.com/96boards/documentation/raw/master/ConsumerEdition/DragonBoard-410c/AdditionalDocs/AndroidUserGuide_DragonBoard.pdf
Dragonboard 410c开发板Linux系统使用手册
https://github.com/96boards/documentation/raw/master/ConsumerEdition/DragonBoard-410c/AdditionalDocs/LinuxUserGuide_DragonBoard.pdf



Dragonboard 410c开发板是基于高通骁龙410处理器的性能强大96开发板,CPU为64核四核A53架构(单核1.2Ghz),GPU为PC级支持OpenGL ES 3.0, OpenCL, DirectX,内容保护技术的Adreno 306 400MHz GPU,内存采用1GB DDR3 533Mhz,板载8GB eMMC 4.51闪存,带TF卡扩展卡槽,无线方面更是支持WiFi 蓝牙 GPS FM广播,扩展接口方面支持虚拟扩展接口+低速扩展接口+高速扩展接口,自带2个USB 2.0接口+1个MicroUSB接口,视频输出方面支持全高清HDMI+MIPI屏幕输出
Dragon 410c开发板正面主要元器件分布如下图

Dragon 410c开发板背面印有高通骁龙英文Logo,右下角带一个启动选择开关,如下图

Dragon 410c开发板侧面图

从左到右分别为TF卡槽 HDMI接口 MicroUSB接口 USB2.0接口 USB2.0接口

从左到右分别为DC插口 模拟扩展接口 40针低速扩展接口
下面介绍Dragonboard 410c开发板套件中的传感器套件,I2C集线器正面如下图

I2C集线器背面面如下图

颜色传感器如下图


手势传感器


光感应传感器


Dragonboard 410c开发板系统区块图

Dragonboard 410c开发板核心APQ8016功能区块图和例程

USB部分原理图

MIPI屏幕输出原理图

电源管理部分原理图

虚拟扩展接口定义

40针低速扩展接口定义

60针高速扩展接口定义

Dragonboard 410c开发板原材料清单
https://github.com/96boards/documentation/raw/master/ConsumerEdition/DragonBoard-410c/AdditionalDocs/DragonBoard410c_BOM.pdf
Dragonboard 410c开发板原理图下载
https://github.com/96boards/documentation/raw/master/ConsumerEdition/DragonBoard-410c/AdditionalDocs/Schematics_DragonBoard.pdf
Dragonboard 410c开发板硬件手册
https://github.com/96boards/documentation/raw/master/ConsumerEdition/DragonBoard-410c/AdditionalDocs/HardwareManual_DragonBoard.pdf
Dragonboard 410c开发板核心APQ8016设备参数手册
https://developer.qualcomm.com/qfile/28813/lm80-p0436-7_b_apq8016_devicespec.pdf
Dragonboard 410c开发板GPIO定义手册
https://developer.qualcomm.com/qfile/28814/lm80-p0436-6_gpio_pin_assignment.pdf
Dragonboard 410c开发板硬件名称缩写手册
https://developer.qualcomm.com/qfile/29141/lm80-p0436-13_c_qc_snapdragon_410_processor_hrd.pdf
Dragonboard 410c开发板安卓系统使用手册
https://github.com/96boards/documentation/raw/master/ConsumerEdition/DragonBoard-410c/AdditionalDocs/AndroidUserGuide_DragonBoard.pdf
Dragonboard 410c开发板Linux系统使用手册
https://github.com/96boards/documentation/raw/master/ConsumerEdition/DragonBoard-410c/AdditionalDocs/LinuxUserGuide_DragonBoard.pdf
大赞
已经收到申请的套件了,目前在搭建开发环境
初步看了一下,开发工具还是很全的。
官方资源非常全面
developer.qualcomm.com/download/software[/url]
编译工具
developer.qualcomm.com/forums/software/snapdragon-llvm-compiler-android[/url]
没有申请到,坐等小编大作
比想象的还要小很多
上一篇:蓝牙4.0 oled 显示驱动源码
下一篇:之开箱篇


