- 易迪拓培训,专注于微波、射频、天线设计工程师的培养
基于78M6618设计的八路能量测量方案
78M6618是高度集成的独立监测八路单相AC出口能量的IC,集成了多个主机接口,LCD驱动器和可配置的I/O口.78M6618提供用于和电压与电流传感器接口的十个模拟输入端,并具有21位delta-sigma ADC,独立的32位计算引擎(CE),数字温度补偿以及精密的电压基准源,能在2000:1动态范围内提供优于0.5%的精度,非常适合用在嵌入式高精度AC功率和能量的测量.
78M6618 Octal Power and Energy Measurement IC
The Teridian 78M6618 is a highly integrated IC for independent monitoring and measurement of up to eight (8) single-phase AC outlets. With multiple host interface options, an integrated LCD driver, and configurable I/Os, it is ideal for metered power distribution units (PDUs) and rack enclosures for the data center as well as intelligent power strips and sub panels in the grid-friendly digital home.
At the measurement interface, the device provides ten analog inputs for interfacing to voltage and current sensors. Voltages from the sensors are fed to Teridian’s patented Single Converter Technology® which uses a 21-bit delta-sigma ADC, independent 32-bit compute engine (CE), digital temperature compensation, and precision voltage references to provide better than 0.5% accuracy over a wide 2000:1 dynamic range.
The integrated MPU core and 128 KB of Flash memory provides a flexible means of configuration, post-processing, data formatting, interfacing to host processor via a UART or SPI interface, displaying output data to an LCD, or using DIO pins for intelligent relay control. Complete firmware for common applications is available from Teridian and can be pre-loaded into the IC during manufacturing test. Alternatively, a complete array of ICE, development tools and programming libraries are available to allow customization MPU code for each application.
Teridian’s new family of 78M661x energy measurement solutions are the ideal choice for embedding high accurate AC power and energy measurement into grid friendly electronic equipment and intelligent power distribution gear.
78M6618主要特性:
• <0.5% Wh accuracy over wide 2000:1 current range and over temperature
• Exceeds IEC 62053 / ANSI C12.20 standards
• Voltage reference < 40 ppm/℃
• Ten sensor inputs—V3P3 referenced
• 21-bit delta-sigma ADC with independent 32-bit compute engine (CE)
• 8-bit MPU (80515), 1 clock cycle per instruction with 4 KB MPU XRAM
• 128 KB Flash with security
• Integrated ICE for MPU debug
• 32 kHz time base with hardware watchdog timer
• UART and high-speed slave SPI host interface options
• Up to 19 general purpose 5 V tolerant I/O pins
• LCD driver (up to 70 pixels)
• Packaged in a RoHS compliant (6/6) lead-free 68-pin QFN
• Complete Application Firmware provides: o True RMS calculations for current, voltage, line frequency, real power, reactive power, apparent power, and power factor
Accumulated watt-hours, kilowatt-hours, and cost
Intelligent switch control at zero crossings
Digital temperature compensation
Phase compensation (±15°)
Quick calibration routines
46-64 Hz line frequency range with same calibration 
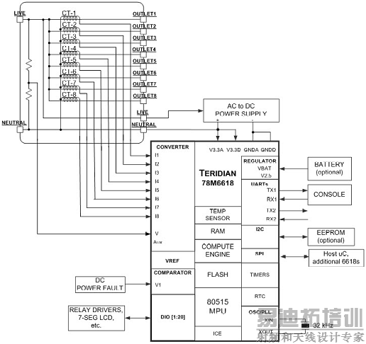
图1.78M6618功能方框图
The 78M6618 includes:
• A ten-input analog front end (AFE)
• An independent digital computation engine (CE)
• An 8051-compatible microprocessor (MPU) which executes one instruction per clock cycle (80515)
• A precision voltage reference
• A temperature sensor
• LCD drivers
• RAM and Flash memory
• A variety of I/O pins 
图2.78M6618 AFE方框图 
图3.78M6618 MPU/CE通信方框图
图4.78M6618 应用方框图
78M6618评估板
The 78M6618 evaluation board is a design example of a switched 8-outlet power distribution unit with per outlet metering. The board includes one 78M6618 IC, an AC-DC power supply, one AC input, eight switched outputs (relays), and connectors to the serial interfaces and DIO pins.
图5.78M6618评估板外形图


